1906 Compound
Forum rules
If you need help logging in, or have question about how something works, use the Support forum located here Support Forum
Complete set of Forum Rules Forum Rules
If you need help logging in, or have question about how something works, use the Support forum located here Support Forum
Complete set of Forum Rules Forum Rules
-
Rich Eagle
Topic author - Posts: 6895
- Joined: Fri Jan 04, 2019 10:51 am
- First Name: Richard
- Last Name: Eagle
- * REQUIRED* Type and Year of Model Ts owned: 1909 TR 1914 TR 1915 Rd 1920 Spdstr 1922 Coupe 1925 Tudor
- Location: Idaho Falls, ID
1906 Compound
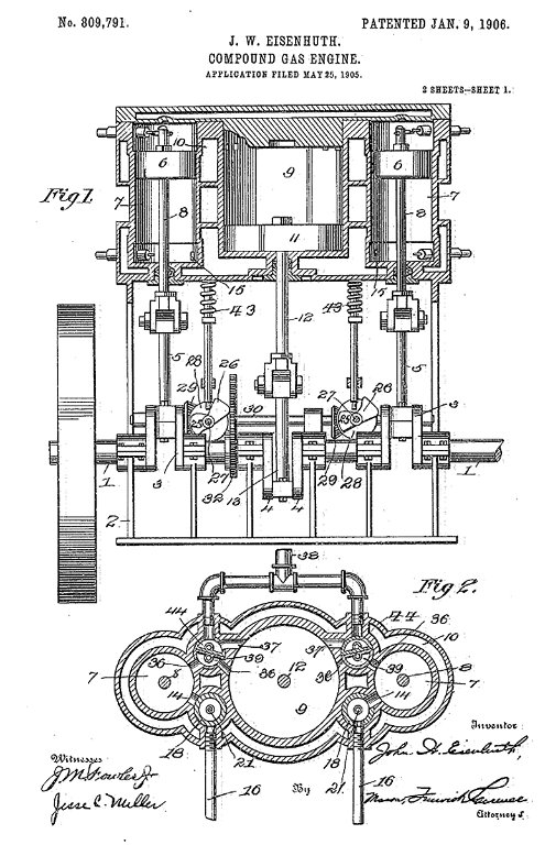
I was impressed by the 1906 Compound car at Harrah's many years ago. It's engine "operated one of its cylinders from the force produced by exhaust gases from the two explosive cylinders. The result was a reduction in noise and saving power". That amazed and amused me.
When I found this video of one running, I thought I should share it here.
https://www.bing.com/videos/search?q=19 ... M%3DHDRSC4 A more elaborate explanation "The outer two, 4-cycle high-pressure cylinders "explode alternately" and exhaust into the larger, 2-cycle low-pressure cylinder rather than into the atmosphere. Here the exhaust gas expands further and drives the piston down before exiting through a small muffler. This compounding of the exhaust gas allowed for more complete combustion that allegedly resulted in a cleaner, odorless and very quiet final exhaust. It also increased fuel economy."
"Of the 300 Compounds produced, this Light Touring Car is the only one known to survive. It is also one of the few cars in the museum whose provenance can be traced all the way back to its original owner, John Unser, chief engineer at the E.H.V. Company. After Unser sold the car in 1934, it passed through a number of owners, including Henry Austin Clark (Long Island Automotive Museum), Harrah's Automobile Collection, General William Lyon, Bill and Doug Magee, and Carl Schmitt. While at Harrah's, it received one of their famed Gold Star restorations."
https://www.bing.com/videos/search?q=19 ... M%3DHDRSC4 A more elaborate explanation "The outer two, 4-cycle high-pressure cylinders "explode alternately" and exhaust into the larger, 2-cycle low-pressure cylinder rather than into the atmosphere. Here the exhaust gas expands further and drives the piston down before exiting through a small muffler. This compounding of the exhaust gas allowed for more complete combustion that allegedly resulted in a cleaner, odorless and very quiet final exhaust. It also increased fuel economy."
"Of the 300 Compounds produced, this Light Touring Car is the only one known to survive. It is also one of the few cars in the museum whose provenance can be traced all the way back to its original owner, John Unser, chief engineer at the E.H.V. Company. After Unser sold the car in 1934, it passed through a number of owners, including Henry Austin Clark (Long Island Automotive Museum), Harrah's Automobile Collection, General William Lyon, Bill and Doug Magee, and Carl Schmitt. While at Harrah's, it received one of their famed Gold Star restorations."
When did I do that?
-
speedytinc
- Posts: 5104
- Joined: Fri Feb 12, 2021 12:24 pm
- First Name: john
- Last Name: karvaly
- * REQUIRED* Type and Year of Model Ts owned: 14/15 wide track roadster. 23 touring, 27 roadster pickup, 20ish rajo touring
- Location: orange, ca
- Board Member Since: 2020
Re: 1906 Compound
Interesting.
I wonder if the second cylinders were prone to more carbon build up filth to the point of higher maintenance of those cylinders.
I wonder if the second cylinders were prone to more carbon build up filth to the point of higher maintenance of those cylinders.
-
Rich P. Bingham
- Posts: 1761
- Joined: Sun Feb 13, 2022 11:24 am
- First Name: Rich
- Last Name: Bingham
- Location: Blackfoot, Idaho
- Board Member Since: 2015
Re: 1906 Compound
A three cylinder engine - the middle cylinder runs off the exhaust from the other two. Amazing. Were we informed in 1963 or sentient ??? 
Get a horse !
-
RVA23T
- Posts: 848
- Joined: Sat Apr 02, 2022 8:27 am
- First Name: Richard
- Last Name: C
- * REQUIRED* Type and Year of Model Ts owned: 1923 Touring
- Location: Lake Country, Virginia
Re: 1906 Compound
Proves that EGR is not all that new in the emissions reduction world.
Great minds think alike and fools seldom differ.
-
Scott_Conger
- Posts: 6704
- Joined: Sun Jan 06, 2019 11:18 am
- First Name: Scott
- Last Name: Conger
- * REQUIRED* Type and Year of Model Ts owned: 1919
- Location: not near anywhere, WY
- Board Member Since: 2005
Re: 1906 Compound
Scott Conger
Tyranny under the guise of law is still Tyranny
NH Full Flow Float Valves™
Obsolete carburetor parts manufactured
Tyranny under the guise of law is still Tyranny
NH Full Flow Float Valves™
Obsolete carburetor parts manufactured
-
TXGOAT2
- Posts: 8363
- Joined: Sun Feb 14, 2021 10:08 pm
- First Name: Pat
- Last Name: McNallen
- * REQUIRED* Type and Year of Model Ts owned: 1926-7 roadster
- Location: Graham, Texas
- Board Member Since: 2021
Re: 1906 Compound
An interesting idea. Compounding was highly developed in steam engines. The problem with compounding a gasoline engine is not that there isn't a lot of energy in the exhaust stream, but that recovering it via expansion inhibits the function of the cylinders supplying the exhaust stream. It would be very interesting to see an accurate "BTU budget" for this engine.
-
Rich Eagle
Topic author - Posts: 6895
- Joined: Fri Jan 04, 2019 10:51 am
- First Name: Richard
- Last Name: Eagle
- * REQUIRED* Type and Year of Model Ts owned: 1909 TR 1914 TR 1915 Rd 1920 Spdstr 1922 Coupe 1925 Tudor
- Location: Idaho Falls, ID
-
TXGOAT2
- Posts: 8363
- Joined: Sun Feb 14, 2021 10:08 pm
- First Name: Pat
- Last Name: McNallen
- * REQUIRED* Type and Year of Model Ts owned: 1926-7 roadster
- Location: Graham, Texas
- Board Member Since: 2021
Re: 1906 Compound
Double-acting pistons?
-
Craig Leach
- Posts: 2013
- Joined: Tue Jan 08, 2019 12:22 am
- First Name: craig
- Last Name: leach
- * REQUIRED* Type and Year of Model Ts owned: 1919 Firetruck/1922 Speedster
- Location: Laveen Az
Re: 1906 Compound
This idea is not dead by any stretch of the imagination see Bruce Crower's idea @
autoweek.com/a2063201/inside-bruce-crowers-six-stroke-engine/
Craig.
autoweek.com/a2063201/inside-bruce-crowers-six-stroke-engine/
Craig.
-
Rich Eagle
Topic author - Posts: 6895
- Joined: Fri Jan 04, 2019 10:51 am
- First Name: Richard
- Last Name: Eagle
- * REQUIRED* Type and Year of Model Ts owned: 1909 TR 1914 TR 1915 Rd 1920 Spdstr 1922 Coupe 1925 Tudor
- Location: Idaho Falls, ID
Re: 1906 Compound
Where would we be without those freethinkers willing to pursue their ideas.
Thanks for the post.
Rich
Thanks for the post.
Rich
When did I do that?
-
Paradise Garage
- Posts: 53
- Joined: Sun Jul 16, 2023 8:27 pm
- First Name: Robert
- Last Name: Howie
- * REQUIRED* Type and Year of Model Ts owned: 1924 coupe
- Location: Paradise, Nova Scotia
Re: 1906 Compound
Most interesting thing I’ve heard about all week
-
TXGOAT2
- Posts: 8363
- Joined: Sun Feb 14, 2021 10:08 pm
- First Name: Pat
- Last Name: McNallen
- * REQUIRED* Type and Year of Model Ts owned: 1926-7 roadster
- Location: Graham, Texas
- Board Member Since: 2021
Re: 1906 Compound
A supercharged, direct injection gasoline engine might be able to take advantage of the compounding principle.
Run the combustion cylinders well above atmospheric pressure, and expand the very hot, high pressure exhaust in expansion cylinders with ceramic pistons. Mechanical complexity would be an issue. Two cycle combustion cylinders might be advantageous, if you could keep them cool. Perhaps double acting 2 cycle combustion cylinders with one side being combustion and the other being devoted to fuel injection/vaporizing/supercharging would offest the cooling issue. The idea might be best applied to a stationary installation running at a governed speed, like a power plant, where weight, complexity, and flexibility would be less critical.
Actually, a typical turbocharged engine applies the same fundamental principle by extracting energy from the exhaust stream thrrough a turbine and appying the recovered energy to running a high volume compressor to supercharge the engine's intake tract, thus avoiding most of the issues with high heat, mechanical complexity, lubrication, and weight and ultimately recycling a good deal of the waste energy in the exhaust.
Then there's the jet engines used in modern aircraft, which are gas turbines running turbine air compressors in order to burn huge amounts of fuel and generate high volume, high pressure exhaust streams, which streams are applied directly to propelling the aircraft.
Run the combustion cylinders well above atmospheric pressure, and expand the very hot, high pressure exhaust in expansion cylinders with ceramic pistons. Mechanical complexity would be an issue. Two cycle combustion cylinders might be advantageous, if you could keep them cool. Perhaps double acting 2 cycle combustion cylinders with one side being combustion and the other being devoted to fuel injection/vaporizing/supercharging would offest the cooling issue. The idea might be best applied to a stationary installation running at a governed speed, like a power plant, where weight, complexity, and flexibility would be less critical.
Actually, a typical turbocharged engine applies the same fundamental principle by extracting energy from the exhaust stream thrrough a turbine and appying the recovered energy to running a high volume compressor to supercharge the engine's intake tract, thus avoiding most of the issues with high heat, mechanical complexity, lubrication, and weight and ultimately recycling a good deal of the waste energy in the exhaust.
Then there's the jet engines used in modern aircraft, which are gas turbines running turbine air compressors in order to burn huge amounts of fuel and generate high volume, high pressure exhaust streams, which streams are applied directly to propelling the aircraft.
-
CudaMan
- Posts: 2546
- Joined: Fri Jan 04, 2019 4:17 pm
- First Name: Mark
- Last Name: Strange
- * REQUIRED* Type and Year of Model Ts owned: 1924 Cut Off Touring (now a pickup)
- Location: Hillsboro, MO
- Board Member Since: 2013
Re: 1906 Compound
There is one (the only one left?) at the Fountainhead Auto Museum in Fairbanks, Alaska.
https://www.fountainheadmuseum.com/foun ... f-our.html
https://www.fountainheadmuseum.com/foun ... f-our.html
Mark Strange
Hillsboro, MO
1924 Cut-off Touring (now a pickup)
Hillsboro, MO
1924 Cut-off Touring (now a pickup)