DIXIE Axle Rebuild Stand

Discuss all things Model T related.
Forum rules
If you need help logging in, or have question about how something works, use the Support forum located here Support Forum
Complete set of Forum Rules Forum Rules
User avatar

Topic author
namdc3
Posts: 399
Joined: Sun Jan 06, 2019 4:15 pm
First Name: Nikolaus
Last Name: Martin
Location: Kansas City
MTFCA Life Member: YES

DIXIE Axle Rebuild Stand

Post by namdc3 » Sun Sep 14, 2025 10:04 pm

I recently purchased a Dixie model axle rebuild stand made by Service Station Equipment Company (SSECO). It is missing the foldable extension that supports the torque tube and holds the tool tray. Does anyone have one of this style that they'd be willing to take a bunch of detailed photos and measurements of? I can get close with the advertising images and some images I found of another stand, but I'd like to get it as close as I can.

I believe that is was likely black or dark gray, as evidenced by the faded paint in the letters of "Dixie" and the faded paint on the casting rib below the drip pan. The drip pan is also black, although it is so black that it may have been repainted at some point.
IMG_7092.jpg
IMG_7093.jpg
IMG_7094.jpg
IMG_7096.jpg
Attachments
IMG_7097.jpg
Last edited by namdc3 on Sun Sep 14, 2025 10:25 pm, edited 1 time in total.

User avatar

Topic author
namdc3
Posts: 399
Joined: Sun Jan 06, 2019 4:15 pm
First Name: Nikolaus
Last Name: Martin
Location: Kansas City
MTFCA Life Member: YES

Re: DIXIE Axle Rebuild Stand

Post by namdc3 » Sun Sep 14, 2025 10:05 pm

IMG_7104.jpg
IMG_7098.jpg
IMG_7095.jpg

User avatar

Topic author
namdc3
Posts: 399
Joined: Sun Jan 06, 2019 4:15 pm
First Name: Nikolaus
Last Name: Martin
Location: Kansas City
MTFCA Life Member: YES

Re: DIXIE Axle Rebuild Stand

Post by namdc3 » Sun Sep 14, 2025 10:05 pm

1918 Dec.jpg
1918 Jun.jpg
1918 May.jpg
1919 Aug a.jpg
1919 Aug b.jpg

User avatar

Topic author
namdc3
Posts: 399
Joined: Sun Jan 06, 2019 4:15 pm
First Name: Nikolaus
Last Name: Martin
Location: Kansas City
MTFCA Life Member: YES

Re: DIXIE Axle Rebuild Stand

Post by namdc3 » Sun Sep 14, 2025 10:06 pm

1919 Aug.jpg
1919_Fairbanks.jpg
1919 Fairbanks_b.jpg
1919 Jan Automobile Trade Journal.jpg
1919 Jan.jpg
Last edited by namdc3 on Sun Sep 14, 2025 10:21 pm, edited 1 time in total.

User avatar

Topic author
namdc3
Posts: 399
Joined: Sun Jan 06, 2019 4:15 pm
First Name: Nikolaus
Last Name: Martin
Location: Kansas City
MTFCA Life Member: YES

Re: DIXIE Axle Rebuild Stand

Post by namdc3 » Sun Sep 14, 2025 10:07 pm

1919 Jul.jpg
1920 Apr.jpg
1920 Fairbanks.jpg
1921 Jan.jpg
1923.jpg
Last edited by namdc3 on Sun Sep 14, 2025 10:22 pm, edited 1 time in total.

User avatar

Topic author
namdc3
Posts: 399
Joined: Sun Jan 06, 2019 4:15 pm
First Name: Nikolaus
Last Name: Martin
Location: Kansas City
MTFCA Life Member: YES

Re: DIXIE Axle Rebuild Stand

Post by namdc3 » Sun Sep 14, 2025 10:07 pm

The Dearborn AB-4 on the left side of this yellow-colored advertisement is similar to the red stand that Don Lang posted in the classifieds. It has a slightly different folding attachment design.
1924 Mar Dearborn_Ford Dealers News.jpg
1926 Jan_Dearborn.jpg
Last edited by namdc3 on Mon Sep 15, 2025 8:31 am, edited 1 time in total.

User avatar

Topic author
namdc3
Posts: 399
Joined: Sun Jan 06, 2019 4:15 pm
First Name: Nikolaus
Last Name: Martin
Location: Kansas City
MTFCA Life Member: YES

Re: DIXIE Axle Rebuild Stand

Post by namdc3 » Sun Sep 14, 2025 10:09 pm

This is a different one that I found online. I suspect mine had this style of folding attachment, as the style shown in the patent was only shown in advertising for a short period of time.
IMG_7051.JPG
IMG_7053.JPG
IMG_7054.JPG
IMG_7055.JPG
Last edited by namdc3 on Sun Sep 14, 2025 10:15 pm, edited 1 time in total.

User avatar

Topic author
namdc3
Posts: 399
Joined: Sun Jan 06, 2019 4:15 pm
First Name: Nikolaus
Last Name: Martin
Location: Kansas City
MTFCA Life Member: YES

Re: DIXIE Axle Rebuild Stand

Post by namdc3 » Sun Sep 14, 2025 10:10 pm


User avatar

Topic author
namdc3
Posts: 399
Joined: Sun Jan 06, 2019 4:15 pm
First Name: Nikolaus
Last Name: Martin
Location: Kansas City
MTFCA Life Member: YES

Re: DIXIE Axle Rebuild Stand

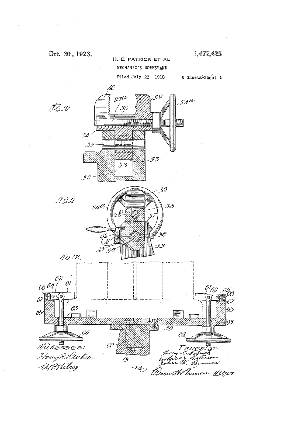
Post by namdc3 » Sun Sep 14, 2025 10:10 pm

US1472425-drawings-page-4.png
US1472425-drawings-page-5.png
US1472425-drawings-page-6.png

User avatar

Topic author
namdc3
Posts: 399
Joined: Sun Jan 06, 2019 4:15 pm
First Name: Nikolaus
Last Name: Martin
Location: Kansas City
MTFCA Life Member: YES

Re: DIXIE Axle Rebuild Stand

Post by namdc3 » Sun Sep 21, 2025 1:38 pm

To the top

User avatar

Topic author
namdc3
Posts: 399
Joined: Sun Jan 06, 2019 4:15 pm
First Name: Nikolaus
Last Name: Martin
Location: Kansas City
MTFCA Life Member: YES

Re: DIXIE Axle Rebuild Stand

Post by namdc3 » Wed Nov 12, 2025 12:33 pm

I'm going to push this to the top further away from Hershey dates and see if there is anyone out there with this info. Thanks!


Dan Hatch
Posts: 5433
Joined: Tue Jan 08, 2019 7:31 pm
First Name: Dan
Last Name: Hatch
Location: Alabama

Re: DIXIE Axle Rebuild Stand

Post by Dan Hatch » Wed Nov 12, 2025 1:55 pm

I got one, but this why I haven’t gotten you the dimensions.
Got to clean it off first 😔
As soon as I can find time. Dan
IMG_4810.jpeg

User avatar

Pep C Strebeck
Posts: 636
Joined: Sun Jan 06, 2019 11:12 am
First Name: Joseph
Last Name: M
Location: MI

Re: DIXIE Axle Rebuild Stand

Post by Pep C Strebeck » Wed Nov 12, 2025 2:18 pm

Dan Hatch wrote:
Wed Nov 12, 2025 1:55 pm
I got one, but this why I haven’t gotten you the dimensions.
Got to clean it off first 😔
As soon as I can find time. Dan
IMG_4810.jpeg

Dan, it is known both as FSS and HSS, Flat/Horizontal Surface Syndrome, the inability to leave a clear, flat surface unencumbered :lol: I have fought it for the better part of 91 years, don't ask me how it's going.
"Remember son, there are two ways to do this: The right way, and your way” Thanks Dad, I love you too.

LOOKING FOR A LUFKIN No. 9A Height Gage Attachment.


WorldChamp1914
Posts: 407
Joined: Mon Jan 28, 2019 2:00 am
First Name: Gary
Last Name: Hagen
* REQUIRED* Type and Year of Model Ts owned: 1914 Touring and a 1921 Sightseeing Bus.See SF On a Dime
Location: San Jose
MTFCA Life Member: YES

Re: DIXIE Axle Rebuild Stand

Post by WorldChamp1914 » Wed Nov 12, 2025 4:20 pm

I own one….Need some pics? Send me an email

User avatar

Topic author
namdc3
Posts: 399
Joined: Sun Jan 06, 2019 4:15 pm
First Name: Nikolaus
Last Name: Martin
Location: Kansas City
MTFCA Life Member: YES

Re: DIXIE Axle Rebuild Stand

Post by namdc3 » Wed Nov 12, 2025 10:04 pm

Dan Hatch wrote:
Wed Nov 12, 2025 1:55 pm
I got one, but this why I haven’t gotten you the dimensions.
Got to clean it off first 😔
As soon as I can find time. Dan
IMG_4810.jpeg
No problem! Now we know the foldable rack is sturdy! ;)

User avatar

Topic author
namdc3
Posts: 399
Joined: Sun Jan 06, 2019 4:15 pm
First Name: Nikolaus
Last Name: Martin
Location: Kansas City
MTFCA Life Member: YES

Re: DIXIE Axle Rebuild Stand

Post by namdc3 » Wed Nov 12, 2025 10:05 pm

WorldChamp1914 wrote:
Wed Nov 12, 2025 4:20 pm
I own one….Need some pics? Send me an email
Thanks! I sent you an email.

Post Reply Previous topicNext topic