E.S. Huff and the Model T Magneto ignition - 1913(a) patent
Forum rules
If you need help logging in, or have question about how something works, use the Support forum located here Support Forum
Complete set of Forum Rules Forum Rules
If you need help logging in, or have question about how something works, use the Support forum located here Support Forum
Complete set of Forum Rules Forum Rules
-
Been Here Before
Topic author - Posts: 654
- Joined: Mon Oct 07, 2019 2:00 pm
- First Name: George John
- Last Name: Drobnock
- * REQUIRED* Type and Year of Model Ts owned: 1922 Coupe
- Location: Central Pennsylvania
E.S. Huff and the Model T Magneto ignition - 1913(a) patent
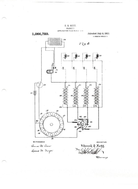
I thought this may be of interest as to what the patent holder, Edward S. Huff, had to state about the design and operation of the magneto and ignition used in the Model T Ford. There were two such patents issued. The first issued in 1913 is presented here. It was found on google patents (patent number 1,066729) the second was issued in 1914 (1,098,361)
The magneto acts as a power source for the coils. There is also a battery to activate the coils.
Rather than explain the patent, read and come to your own understanding.
The magneto acts as a power source for the coils. There is also a battery to activate the coils.
Rather than explain the patent, read and come to your own understanding.
-
Dropacent
- Posts: 3384
- Joined: Sun Jan 06, 2019 11:39 am
- First Name: Tim
- Last Name: Morsher
- * REQUIRED* Type and Year of Model Ts owned: 1925TT, 1926 Martin-Parry bodied wagon, 1927 mercury bodied speedster
- Location: Norwalk Ohio
Re: E.S. Huff and the Model T Magneto ignition - 1913(a) patent
Thanks for the thread, George. Ed was the ( not well known) genius behind the most remarkable feature of the T, it’s built in source of electricity. Perhaps this would be some interest to it. The Huff coil was sold at the first de-accession auction at the Edison Institute. Same as on the famous 999. The working model was said to be on Henry’s desk. I’ve lit a light bulb with it. The picture came along with it, and I do not know but suspect it could be Ed Huff late in life. Haven’t had much time for detective work, but that’s what I was told. Also , another Huff patent is posted below.
Last edited by Dropacent on Mon Dec 20, 2021 12:00 am, edited 1 time in total.
-
Rich Eagle
- Posts: 6895
- Joined: Fri Jan 04, 2019 10:51 am
- First Name: Richard
- Last Name: Eagle
- * REQUIRED* Type and Year of Model Ts owned: 1909 TR 1914 TR 1915 Rd 1920 Spdstr 1922 Coupe 1925 Tudor
- Location: Idaho Falls, ID
Re: E.S. Huff and the Model T Magneto ignition - 1913(a) patent
Wonderful stuff.
THANKS!!
And how could anyone not like a guy caller "Spider"?
Rich
THANKS!!
And how could anyone not like a guy caller "Spider"?
Rich
When did I do that?
-
DanTreace
- Posts: 4113
- Joined: Sun Jan 06, 2019 10:56 am
- First Name: Dan
- Last Name: Treace
- * REQUIRED* Type and Year of Model Ts owned: '23 cutoff pickup, '27 touring
- Location: North Central FL
- Board Member Since: 2000
- Contact:
Re: E.S. Huff and the Model T Magneto ignition - 1913(a) patent
This photo from an early auto mechanics magazine claimed this to be a patent example of Huff's flywheel magneto, the magnets are embedded in the wood flywheel. You can make out the magneto contact on the upper left of the pic, in front of that white image artifact.
The best way is always the simplest. The attics of the world are cluttered up with complicated failures. Henry Ford
Don’t find fault, find a remedy; anybody can complain. Henry Ford
Don’t find fault, find a remedy; anybody can complain. Henry Ford
-
Dropacent
- Posts: 3384
- Joined: Sun Jan 06, 2019 11:39 am
- First Name: Tim
- Last Name: Morsher
- * REQUIRED* Type and Year of Model Ts owned: 1925TT, 1926 Martin-Parry bodied wagon, 1927 mercury bodied speedster
- Location: Norwalk Ohio
Re: E.S. Huff and the Model T Magneto ignition - 1913(a) patent
After 1880 , patent models were no longer required by the patent office, but plenty were still made to prove and show the design. Wonder if that one still exists ? When they were still required, models needed to fit in a 12”x12”x12” space.( I think)
-
Norman Kling
- Posts: 4694
- Joined: Tue Jan 08, 2019 1:39 pm
- First Name: Norman
- Last Name: Kling
- Location: Alpine California
Re: E.S. Huff and the Model T Magneto ignition - 1913(a) patent
I wonder why Ford T's had the magneto from 1908 to 1913 and yet it was Huff who got the patent after several years of using it in the T. Why did not Henry himself patent it?
Norm
Norm
-
J1MGolden
- Posts: 1323
- Joined: Sun Jan 06, 2019 5:39 pm
- First Name: James
- Last Name: Golden
- * REQUIRED* Type and Year of Model Ts owned: 1926 Model T Roadster
- Location: Bowie, MD
Re: E.S. Huff and the Model T Magneto ignition - 1913(a) patent
Actually his middle name was Spyder and that was his grandmother's maiden name.
Some places claimed he was from England, but that was not true.
1880 United States Federal Census
Name: Edward S. Huff
Age: 2
Birth Year: about 1878
Birthplace: Illinois
Home in 1880: Felix, Grundy, Illinois
Race: White
Gender: Male
Relation to Head of House: Son
Marital Status: Single
Father's Birthplace: New York
Mother's Name: Martha Huff
Mother's Birthplace: New York
Household Members:
Name Age
Martha Huff 39
Edward S. Huff 2
1921 U.S. Passport Application
Name: Edward S. Huff
Birth Date: 20 July 1877
Birth Place: Coal City, Illinois
Occupation: Electrical Engineer
Residence: Miami, Florida
Passport Issue Date: 30 March 1921
Father Name: Erastus H. Huff
Father's Birth Location: New York State
Father's Residence: Deceased
Passport Includes a Photo: Yes
Source: Passport Applications, January 2, 1906 - March 31, 1925 (M1490)
Some places claimed he was from England, but that was not true.
1880 United States Federal Census
Name: Edward S. Huff
Age: 2
Birth Year: about 1878
Birthplace: Illinois
Home in 1880: Felix, Grundy, Illinois
Race: White
Gender: Male
Relation to Head of House: Son
Marital Status: Single
Father's Birthplace: New York
Mother's Name: Martha Huff
Mother's Birthplace: New York
Household Members:
Name Age
Martha Huff 39
Edward S. Huff 2
1921 U.S. Passport Application
Name: Edward S. Huff
Birth Date: 20 July 1877
Birth Place: Coal City, Illinois
Occupation: Electrical Engineer
Residence: Miami, Florida
Passport Issue Date: 30 March 1921
Father Name: Erastus H. Huff
Father's Birth Location: New York State
Father's Residence: Deceased
Passport Includes a Photo: Yes
Source: Passport Applications, January 2, 1906 - March 31, 1925 (M1490)
-
TrentB
- Posts: 222
- Joined: Wed Jan 09, 2019 12:19 am
- First Name: Trent
- Last Name: Boggess
- Location: New Hampshire
Re: E.S. Huff and the Model T Magneto ignition - 1913(a) patent
“Edward’s Huff, Henry Ford and the Flywheel Magnetp”, The Vintage Ford, Vol. 31, Number 2 (March/April, 1996), pp. 20-33.
-
Dropacent
- Posts: 3384
- Joined: Sun Jan 06, 2019 11:39 am
- First Name: Tim
- Last Name: Morsher
- * REQUIRED* Type and Year of Model Ts owned: 1925TT, 1926 Martin-Parry bodied wagon, 1927 mercury bodied speedster
- Location: Norwalk Ohio
Re: E.S. Huff and the Model T Magneto ignition - 1913(a) patent
One of Henry’s most shameful episodes.
-
DanTreace
- Posts: 4113
- Joined: Sun Jan 06, 2019 10:56 am
- First Name: Dan
- Last Name: Treace
- * REQUIRED* Type and Year of Model Ts owned: '23 cutoff pickup, '27 touring
- Location: North Central FL
- Board Member Since: 2000
- Contact:
Re: E.S. Huff and the Model T Magneto ignition - 1913(a) patent
One of Henry’s most shameful episodes.
Actually Tim, Henry did have a heart for his old friend, that lawsuit came at a time when Huff was down and out (by his own making) and Henry did provide for him.
TrentB » Sun Dec 19, 2021 11:00 pm
“Edward’s Huff, Henry Ford and the Flywheel Magnetp”, The Vintage Ford, Vol. 31, Number 2 (March/April, 1996), pp. 20-33.
Read Trent's review here, some of his article info he posted above is here in this earlier forum post, scroll toThursday, July 31, 2008 - 10:22 pm:: to read about Huff and Ford!
http://www.mtfca.com/discus/messages/50 ... 1217854459
The best way is always the simplest. The attics of the world are cluttered up with complicated failures. Henry Ford
Don’t find fault, find a remedy; anybody can complain. Henry Ford
Don’t find fault, find a remedy; anybody can complain. Henry Ford
-
Dropacent
- Posts: 3384
- Joined: Sun Jan 06, 2019 11:39 am
- First Name: Tim
- Last Name: Morsher
- * REQUIRED* Type and Year of Model Ts owned: 1925TT, 1926 Martin-Parry bodied wagon, 1927 mercury bodied speedster
- Location: Norwalk Ohio
Re: E.S. Huff and the Model T Magneto ignition - 1913(a) patent
Anything he was given was a mere pittance of what he was owed. They led him on until it was too late to try and get his due AND, the final insult , Henry had his henchman throw Ed outside the gates one final time.
-
Dropacent
- Posts: 3384
- Joined: Sun Jan 06, 2019 11:39 am
- First Name: Tim
- Last Name: Morsher
- * REQUIRED* Type and Year of Model Ts owned: 1925TT, 1926 Martin-Parry bodied wagon, 1927 mercury bodied speedster
- Location: Norwalk Ohio
Re: E.S. Huff and the Model T Magneto ignition - 1913(a) patent
If past is prologue, read up on the intermittent wiper that was invented in a fellows basement, and then stolen by FoMoCo. There was a movie about it, not sure how accurate but the inventor finally prevailed in getting his due. It’s still in courts with foreign manufacturers. Old Ed Huff was screwed , blued and tattooed , as they say.
-
Jerry VanOoteghem
- Posts: 4503
- Joined: Sun Jan 06, 2019 4:06 pm
- First Name: Jerry
- Last Name: Van
- Location: S.E. Michigan
Re: E.S. Huff and the Model T Magneto ignition - 1913(a) patent
Tim,Dropacent wrote: ↑Mon Dec 20, 2021 11:08 amIf past is prologue, read up on the intermittent wiper that was invented in a fellows basement, and then stolen by FoMoCo. There was a movie about it, not sure how accurate but the inventor finally prevailed in getting his due. It’s still in courts with foreign manufacturers. Old Ed Huff was screwed , blued and tattooed , as they say.
I knew the son of the windshield wiper guy. He stated that his father really had little or no claim on Ford and that he very sadly wasted a major portion of his life chasing his supposed rights. But that doesn't make for good Hollywood story lines I guess.
-
TXGOAT2
- Posts: 8700
- Joined: Sun Feb 14, 2021 10:08 pm
- First Name: Pat
- Last Name: McNallen
- * REQUIRED* Type and Year of Model Ts owned: 1926-7 roadster
- Location: Graham, Texas
- Board Member Since: 2021
Re: E.S. Huff and the Model T Magneto ignition - 1913(a) patent
I believe that it was and may still be common for a corporate employee who develops a new method or device to be required to assign rights to that device or methodology to the corporation. I assume that applies to a device or procedure that the employee developed on the job. (?)
-
Scott_Conger
- Posts: 6831
- Joined: Sun Jan 06, 2019 11:18 am
- First Name: Scott
- Last Name: Conger
- * REQUIRED* Type and Year of Model Ts owned: 1919
- Location: not near anywhere, WY
- Board Member Since: 2005
Re: E.S. Huff and the Model T Magneto ignition - 1913(a) patent
The company that I retired from after 33 years would not hire me unless I signed away rights to ANYTHING developed on company time or MY time. In the factory or in the garage, I did not own it, and I have the walnut "thank you" plaques to prove it.
Scott Conger
Tyranny under the guise of law is still Tyranny
NH Full Flow Float Valves™
Obsolete carburetor parts manufactured
Tyranny under the guise of law is still Tyranny
NH Full Flow Float Valves™
Obsolete carburetor parts manufactured
-
TXGOAT2
- Posts: 8700
- Joined: Sun Feb 14, 2021 10:08 pm
- First Name: Pat
- Last Name: McNallen
- * REQUIRED* Type and Year of Model Ts owned: 1926-7 roadster
- Location: Graham, Texas
- Board Member Since: 2021
Re: E.S. Huff and the Model T Magneto ignition - 1913(a) patent
My uncle told a tale about an oilfield worker back in the Depression who came up with a new idea for some kind of labor/time saving device or method. The guy told his gang boss about his idea, and was promptly fired, after being told he was not being paid to think. Being fired in those days was about one stop short of being shot.
Last edited by TXGOAT2 on Mon Dec 20, 2021 1:38 pm, edited 1 time in total.
-
Mark Nunn
- Posts: 1294
- Joined: Mon Jan 07, 2019 8:01 am
- First Name: Mark
- Last Name: Nunn
- * REQUIRED* Type and Year of Model Ts owned: 1926 Runabout
- Location: Bennington, NE
- Board Member Since: 2017
Re: E.S. Huff and the Model T Magneto ignition - 1913(a) patent
Scott, I am in the same boat. I had to sign the agreement as a prerequisite for employment. When I'm issued a patent, it's assigned to the company and I receive $1.00 for the patent. I guarantee that everyone on this forum in North America (and other countries) have seen products that I designed. 100%. I got a dollar. I'm not bitter about it. I am paid well and respected in my field. I was asked Saturday why I haven't designed my own 'next big thing." I'm waiting until I retire in about a year.
-
Luke
- Posts: 617
- Joined: Fri Dec 13, 2019 1:04 am
- First Name: Luke
- Last Name: P
- * REQUIRED* Type and Year of Model Ts owned: 1926
- Location: New Zealand
Re: E.S. Huff and the Model T Magneto ignition - 1913(a) patent
Dan, is that the only surviving photograph of Huff's original unit? I've cleaned it up a little, in case it shows up any more detail:DanTreace wrote: ↑Sun Dec 19, 2021 4:53 pmThis photo from an early auto mechanics magazine claimed this to be a patent example of Huff's flywheel magneto, the magnets are embedded in the wood flywheel. You can make out the magneto contact on the upper left of the pic, in front of that white image artifact.
-
Dropacent
- Posts: 3384
- Joined: Sun Jan 06, 2019 11:39 am
- First Name: Tim
- Last Name: Morsher
- * REQUIRED* Type and Year of Model Ts owned: 1925TT, 1926 Martin-Parry bodied wagon, 1927 mercury bodied speedster
- Location: Norwalk Ohio
Re: E.S. Huff and the Model T Magneto ignition - 1913(a) patent
Jerry, re / the intermittent wiper, doing a quick search shows juries and courts decided, and over 30 million dollars have so far been awarded, with legal cases still ongoing. I wonder if the son has recd any of this money? I know it’s Hollywood, but the movie depicted that it really destroyed the family. I should note, just a guess is the companies got off easy at 30 mil…… they probably considered it a business victory.
Ed Huff is just an early example of inventors being chewed up and spit out. Thousands have before and after him, sadly.
Ed Huff is just an early example of inventors being chewed up and spit out. Thousands have before and after him, sadly.
-
Scott_Conger
- Posts: 6831
- Joined: Sun Jan 06, 2019 11:18 am
- First Name: Scott
- Last Name: Conger
- * REQUIRED* Type and Year of Model Ts owned: 1919
- Location: not near anywhere, WY
- Board Member Since: 2005
Re: E.S. Huff and the Model T Magneto ignition - 1913(a) patent
Mark
Nor am I bitter. Just surprised that my career took a turn where those things showed up. Like yourself, it was no surprise, as it was the cost of getting what turned out to be a really great job at a company that ultimately went down a terrible management path as so many have. The payout was that it financed a great life and better retirement.
just be sure to burn your notebook that started pre-2022. That Jan 2, 2022 brilliant seed of an idea should be documented in a shiny brand new engineering book.
Nor am I bitter. Just surprised that my career took a turn where those things showed up. Like yourself, it was no surprise, as it was the cost of getting what turned out to be a really great job at a company that ultimately went down a terrible management path as so many have. The payout was that it financed a great life and better retirement.
just be sure to burn your notebook that started pre-2022. That Jan 2, 2022 brilliant seed of an idea should be documented in a shiny brand new engineering book.
Scott Conger
Tyranny under the guise of law is still Tyranny
NH Full Flow Float Valves™
Obsolete carburetor parts manufactured
Tyranny under the guise of law is still Tyranny
NH Full Flow Float Valves™
Obsolete carburetor parts manufactured
-
Jerry VanOoteghem
- Posts: 4503
- Joined: Sun Jan 06, 2019 4:06 pm
- First Name: Jerry
- Last Name: Van
- Location: S.E. Michigan
Re: E.S. Huff and the Model T Magneto ignition - 1913(a) patent
Any money he or his dad would have gotten wasn't up for discussion. However, the destruction of the family, and of his father on a personal level, was mentioned. The basic thing was, whatever the outcome, it wasn't worth it.Dropacent wrote: ↑Mon Dec 20, 2021 2:50 pmJerry, re / the intermittent wiper, doing a quick search shows juries and courts decided, and over 30 million dollars have so far been awarded, with legal cases still ongoing. I wonder if the son has recd any of this money? I know it’s Hollywood, but the movie depicted that it really destroyed the family. I should note, just a guess is the companies got off easy at 30 mil…… they probably considered it a business victory.
Ed Huff is just an early example of inventors being chewed up and spit out. Thousands have before and after him, sadly.
-
DanTreace
- Posts: 4113
- Joined: Sun Jan 06, 2019 10:56 am
- First Name: Dan
- Last Name: Treace
- * REQUIRED* Type and Year of Model Ts owned: '23 cutoff pickup, '27 touring
- Location: North Central FL
- Board Member Since: 2000
- Contact:
Re: E.S. Huff and the Model T Magneto ignition - 1913(a) patent
More of the story came out in that later years suit that Huff threw at Henry. (The web is a great resource, the below is from Federal Register of the proceedings of the Fed court trial) where Ford presented his side of the case. Huff knew he was baseless on claiming a royalty when no written contract noted that. Reading the details, Henry did pay Huff $10,000 (about $300,000 in today's dollars) for the first 10,000 T's built (with magneto design somewhat like the first 1913 issue date patent). The later 1914 issue date patent had improvements that Huff made, but Huff didn't insist on another 'arrangement' if there was one to begin with. All of this work and improvements were done when Huff was an employee of Ford, the improved magneto was in use in T's at the time Huff left employment on his own accord.Ed Huff is just an early example of inventors being chewed up and spit out. Thousands have before and after him, sadly.
It is a rare situation where an employee is then also given a royalty for normal inventiveness on a product or process, particular when the patent legal work was done by the employer, as Ford did. So it was with Huff, but Henry did pay him that amount, strung out in payment over time, for reason stated in the defense argument.
So Huff was rewarded, for pay and for his work, but he left Ford in 1912, and never made any claims prior to leaving, but did a decade later. Huff knew he was compensated well at the time. Only in later years did some Miami lawyer... (they are still around
The best way is always the simplest. The attics of the world are cluttered up with complicated failures. Henry Ford
Don’t find fault, find a remedy; anybody can complain. Henry Ford
Don’t find fault, find a remedy; anybody can complain. Henry Ford
-
DanTreace
- Posts: 4113
- Joined: Sun Jan 06, 2019 10:56 am
- First Name: Dan
- Last Name: Treace
- * REQUIRED* Type and Year of Model Ts owned: '23 cutoff pickup, '27 touring
- Location: North Central FL
- Board Member Since: 2000
- Contact:
Re: E.S. Huff and the Model T Magneto ignition - 1913(a) patent
Dan, is that the only surviving photograph of Huff's original unit? I've cleaned it up a little, in case it shows up any more detail:
Don't know, it was cover photo on Oct 1924 issue World Progress, 10cent booklet pub. in Wash D.C. on recent patents, so likely it is from some patent record in D.C., but no ref. was given in the booklet on the picture source.
The best way is always the simplest. The attics of the world are cluttered up with complicated failures. Henry Ford
Don’t find fault, find a remedy; anybody can complain. Henry Ford
Don’t find fault, find a remedy; anybody can complain. Henry Ford
-
Dropacent
- Posts: 3384
- Joined: Sun Jan 06, 2019 11:39 am
- First Name: Tim
- Last Name: Morsher
- * REQUIRED* Type and Year of Model Ts owned: 1925TT, 1926 Martin-Parry bodied wagon, 1927 mercury bodied speedster
- Location: Norwalk Ohio
Re: E.S. Huff and the Model T Magneto ignition - 1913(a) patent
Dan, I know what I know, I know what I think I know and a whole lot of overlap between the two. Also ,I’m not afraid to say I’m wrong, after all, I’ve been happily married for 47 years!
I’ve not read that particular legal writing, but have read plenty from other sources about the whole sad affair. We have the luxury of referring to news articles, and other accounts and such for our history lessons. We can post what we heard, snippets of things, etc. People like our great Prof Trent doesn’t have that luxury, and have been schooled in proper research. That’s one reason I don’t pay much heed to amateur historians that do research mainly VIA company propaganda.
Great stuff , and really appreciate you putting it forward.
And, Jerry……….how fascinating to be that close to motor city history. Both these affairs mentioned are pretty sad. I don’t think I have the killer instinct to be successful in business. I doubt many here do. I’m just looking to break even in life.
I’d love to hear more about Mr. Huff …………professor?
I’ve not read that particular legal writing, but have read plenty from other sources about the whole sad affair. We have the luxury of referring to news articles, and other accounts and such for our history lessons. We can post what we heard, snippets of things, etc. People like our great Prof Trent doesn’t have that luxury, and have been schooled in proper research. That’s one reason I don’t pay much heed to amateur historians that do research mainly VIA company propaganda.
Great stuff , and really appreciate you putting it forward.
And, Jerry……….how fascinating to be that close to motor city history. Both these affairs mentioned are pretty sad. I don’t think I have the killer instinct to be successful in business. I doubt many here do. I’m just looking to break even in life.
I’d love to hear more about Mr. Huff …………professor?
-
J1MGolden
- Posts: 1323
- Joined: Sun Jan 06, 2019 5:39 pm
- First Name: James
- Last Name: Golden
- * REQUIRED* Type and Year of Model Ts owned: 1926 Model T Roadster
- Location: Bowie, MD
Re: E.S. Huff and the Model T Magneto ignition - 1913(a) patent
The part you haven't heard is that the original agreement called for a $1 royalty for every Model T sold with a Huff Magneto.
Huff''s wife divorced him after the money was spent, so Huff had Ford's lawyers draw up a document that said he was paid in full, so he did not have to give more money to his wife.
Later when he realized how many dollars he would have, he petitioned Henry Ford for the money.
His lawyers brought out that old letter and he lost the case.
It went all the way to the Supreme Court and they refused to hear the case, as too many years had gone by past with no action or request.
I had all the newspaper articles at one time, but I may not have kept them.
Henry did offer Huff his job back when his Florida business failed, but he refused to work there again.
Huff''s wife divorced him after the money was spent, so Huff had Ford's lawyers draw up a document that said he was paid in full, so he did not have to give more money to his wife.
Later when he realized how many dollars he would have, he petitioned Henry Ford for the money.
His lawyers brought out that old letter and he lost the case.
It went all the way to the Supreme Court and they refused to hear the case, as too many years had gone by past with no action or request.
I had all the newspaper articles at one time, but I may not have kept them.
Henry did offer Huff his job back when his Florida business failed, but he refused to work there again.
-
J1MGolden
- Posts: 1323
- Joined: Sun Jan 06, 2019 5:39 pm
- First Name: James
- Last Name: Golden
- * REQUIRED* Type and Year of Model Ts owned: 1926 Model T Roadster
- Location: Bowie, MD
Re: E.S. Huff and the Model T Magneto ignition - 1913(a) patent
The fine print in the above article.
Edward S. Huff, formerly an engineer of the Ford Motor company, who is suing for $11,000,000 which he claims is due him as royalties on his invention of the magneto fly wheel, now used on all Ford cars. He made it when working for Ford, and says he was to receive $2.50 for each one used. The defense claims he was given $10,000 for it and that there was no word of royalties. It will be interesting to radio enthusiasts to know that Mr. Huff is the inventor of the aerialless radio with one of which he is here seen.
Edward S. Huff, formerly an engineer of the Ford Motor company, who is suing for $11,000,000 which he claims is due him as royalties on his invention of the magneto fly wheel, now used on all Ford cars. He made it when working for Ford, and says he was to receive $2.50 for each one used. The defense claims he was given $10,000 for it and that there was no word of royalties. It will be interesting to radio enthusiasts to know that Mr. Huff is the inventor of the aerialless radio with one of which he is here seen.
-
Scott_Conger
- Posts: 6831
- Joined: Sun Jan 06, 2019 11:18 am
- First Name: Scott
- Last Name: Conger
- * REQUIRED* Type and Year of Model Ts owned: 1919
- Location: not near anywhere, WY
- Board Member Since: 2005
Re: E.S. Huff and the Model T Magneto ignition - 1913(a) patent
$10,000 in 1913 dollars is 280,755.56 today.
Assuming that room across from Ford's at the Piquete plant used by Huff, meant he was not there as a volunteer, it's a mighty fine payout for an employee, actually.
Assuming that room across from Ford's at the Piquete plant used by Huff, meant he was not there as a volunteer, it's a mighty fine payout for an employee, actually.
Scott Conger
Tyranny under the guise of law is still Tyranny
NH Full Flow Float Valves™
Obsolete carburetor parts manufactured
Tyranny under the guise of law is still Tyranny
NH Full Flow Float Valves™
Obsolete carburetor parts manufactured
-
Michael Peternell
- Posts: 734
- Joined: Sun Jan 06, 2019 11:00 am
- First Name: Michael
- Last Name: Peternell
- * REQUIRED* Type and Year of Model Ts owned: TT gas truck, T tractor conversions, '15 touring, '17 speedster, '26 16 valve speedster
- Location: Albany mn
Re: E.S. Huff and the Model T Magneto ignition - 1913(a) patent
I'll ask. Did any of Henry's other engineers ever get a huge bump in there salaries like Mr Huff? If not, just the fact Henry paid anything extra proves his guilt. This opinion and a couple dollars will get you a drink at McDonald's !
-
DanTreace
- Posts: 4113
- Joined: Sun Jan 06, 2019 10:56 am
- First Name: Dan
- Last Name: Treace
- * REQUIRED* Type and Year of Model Ts owned: '23 cutoff pickup, '27 touring
- Location: North Central FL
- Board Member Since: 2000
- Contact:
Re: E.S. Huff and the Model T Magneto ignition - 1913(a) patent
Tim. Your photo with the display of the Huff coil and the model flywheel magneto is the same likeness of Huff from a newspaper I ran across on web searches, so that photo is Huff in later years. Loss the site was on, but it had photo of Huff with ref. to his lawsuit.
Michael:
Here is semi-monthly payroll in 1904, the start of the Ford company.
Huff was paid same as Kulick and other technical guys. Pay was $100/mo $1200/year ( $38,000 in todays dollars)
And Huff did work at Ford after he loss his lawsuit to gain royalties, according to Prof. of All Things Ford, Dr. Trent Boggess
during the winter
of 1925 he was, by all accounts, flat broke. Liebold
immediately gave him $200 to get by on. A few days
later, after Huff had agreed to sign a release freeing
Ford from any further claims for royalties, Liebold
had him rehired with the company. Huff worked a
few weeks as a regular Ford employee before Henry
Ford went to see him. Henry Ford took his old
friend and had him transferred to the Electrical
Experimental Department in the new Ford Engineering
Laboratories located in Dearborn.58
And a few paragraphs later on page 32 Trent shared:
While employed at the Engineering Laboratory,
Huff worked on a number of projects. One of
the first was a radio for the Lincoln automobile.
Another project was the innovative six-pole generator
for the new Model A.
Ed Huff continued to work at the Engineering
Laboratory until about 1932, when he became ill
and was diagnosed with cancer. Knowing his days
were numbered, Huff preferred the warm climate
of Florida to the harsh winters of Detroit. James
Purdie recalls that Huff loaded up his trailer behind
his car and set out with his third wife, Julia,
for Miami.62 He died in early March, 1933.
Michael:
Here is semi-monthly payroll in 1904, the start of the Ford company.
Huff was paid same as Kulick and other technical guys. Pay was $100/mo $1200/year ( $38,000 in todays dollars)
And Huff did work at Ford after he loss his lawsuit to gain royalties, according to Prof. of All Things Ford, Dr. Trent Boggess
during the winter
of 1925 he was, by all accounts, flat broke. Liebold
immediately gave him $200 to get by on. A few days
later, after Huff had agreed to sign a release freeing
Ford from any further claims for royalties, Liebold
had him rehired with the company. Huff worked a
few weeks as a regular Ford employee before Henry
Ford went to see him. Henry Ford took his old
friend and had him transferred to the Electrical
Experimental Department in the new Ford Engineering
Laboratories located in Dearborn.58
And a few paragraphs later on page 32 Trent shared:
While employed at the Engineering Laboratory,
Huff worked on a number of projects. One of
the first was a radio for the Lincoln automobile.
Another project was the innovative six-pole generator
for the new Model A.
Ed Huff continued to work at the Engineering
Laboratory until about 1932, when he became ill
and was diagnosed with cancer. Knowing his days
were numbered, Huff preferred the warm climate
of Florida to the harsh winters of Detroit. James
Purdie recalls that Huff loaded up his trailer behind
his car and set out with his third wife, Julia,
for Miami.62 He died in early March, 1933.
The best way is always the simplest. The attics of the world are cluttered up with complicated failures. Henry Ford
Don’t find fault, find a remedy; anybody can complain. Henry Ford
Don’t find fault, find a remedy; anybody can complain. Henry Ford
-
henryford2
- Posts: 831
- Joined: Sun Jan 06, 2019 4:14 pm
- First Name: Joseph
- Last Name: Andulics
- * REQUIRED* Type and Year of Model Ts owned: 1926 Fordor, 1926 Truck, 1927 Roadster GOW, RAJO Sprint car
- Location: North Ridgeville, OH
- Contact:
Re: E.S. Huff and the Model T Magneto ignition - 1913(a) patent
Comments removed, not pertinent to current conversation, my apologize.
Last edited by henryford2 on Tue Dec 21, 2021 7:50 am, edited 1 time in total.
-
Been Here Before
Topic author - Posts: 654
- Joined: Mon Oct 07, 2019 2:00 pm
- First Name: George John
- Last Name: Drobnock
- * REQUIRED* Type and Year of Model Ts owned: 1922 Coupe
- Location: Central Pennsylvania
Re: E.S. Huff and the Model T Magneto ignition - 1913(a) patent
To add more to the story: From a court summary from the Florida Court 1922. Comments from the court records. Appears Huff designed the Magneto System in 1908 but did not take out a patent till 1913.
-
Dropacent
- Posts: 3384
- Joined: Sun Jan 06, 2019 11:39 am
- First Name: Tim
- Last Name: Morsher
- * REQUIRED* Type and Year of Model Ts owned: 1925TT, 1926 Martin-Parry bodied wagon, 1927 mercury bodied speedster
- Location: Norwalk Ohio
Re: E.S. Huff and the Model T Magneto ignition - 1913(a) patent
Dan, I’ll send you a nice color copy of this photo of mine. Keep me in the pipeline if you wander into that info again. Sure would be sweet to confirm. We need to remember, Samson and Goliath. It’s just like today. When you fight someone with unlimited and copious amounts of $$, things are stacked against you. Add to that a man that said “history is bunk” and was often able to shape and define his own history, it’s like climbing Mount Everest nekkid.
-
J1MGolden
- Posts: 1323
- Joined: Sun Jan 06, 2019 5:39 pm
- First Name: James
- Last Name: Golden
- * REQUIRED* Type and Year of Model Ts owned: 1926 Model T Roadster
- Location: Bowie, MD
Re: E.S. Huff and the Model T Magneto ignition - 1913(a) patent
The Magneto patent was filed on March 2, 1908 and granted on July 8, 1913.
A second patent for a new and useful improvement in flywheel magnetos for explosive engines was filed on April 27, 1908 and granted May 26, 1914.
In each case, the patent office has to do extensive research to determine the patent does not infringe on any patents already granted.
That accounts for the delay.
By that time Ford may have had the standard clause in the aggrement to hie a person that any patent developed while a person is employed with the company belongs to the company.
A second patent for a new and useful improvement in flywheel magnetos for explosive engines was filed on April 27, 1908 and granted May 26, 1914.
In each case, the patent office has to do extensive research to determine the patent does not infringe on any patents already granted.
That accounts for the delay.
By that time Ford may have had the standard clause in the aggrement to hie a person that any patent developed while a person is employed with the company belongs to the company.
-
DanTreace
- Posts: 4113
- Joined: Sun Jan 06, 2019 10:56 am
- First Name: Dan
- Last Name: Treace
- * REQUIRED* Type and Year of Model Ts owned: '23 cutoff pickup, '27 touring
- Location: North Central FL
- Board Member Since: 2000
- Contact:
Re: E.S. Huff and the Model T Magneto ignition - 1913(a) patent
Here is the photo, copied from 6 April 1922 Norfolk Post newspaper article on the suit that E. Huff made against Ford.Tim posted:Keep me in the pipeline if you wander into that info again. Sure would be sweet to confirm.
Can see resemblance, jaw line, thin lips, eye brow, and nose. Shape of face, sure believe your later photo is an aged Huff, from the '30s as he passed away in '33 at 55years. The newspaper was 1922, so the photo of Huff was likely in the early teens when he was about 30-40years.
And, thanks for offer of mailing me a color copy of your photo, but I saved the image to my file that you posted, that's all I need
Last edited by DanTreace on Tue Dec 21, 2021 8:53 pm, edited 1 time in total.
The best way is always the simplest. The attics of the world are cluttered up with complicated failures. Henry Ford
Don’t find fault, find a remedy; anybody can complain. Henry Ford
Don’t find fault, find a remedy; anybody can complain. Henry Ford
-
Jerry VanOoteghem
- Posts: 4503
- Joined: Sun Jan 06, 2019 4:06 pm
- First Name: Jerry
- Last Name: Van
- Location: S.E. Michigan
Re: E.S. Huff and the Model T Magneto ignition - 1913(a) patent
"...he passed away in '33 at 55years."
The guy in the photo looks at least 75!
The guy in the photo looks at least 75!
-
Dropacent
- Posts: 3384
- Joined: Sun Jan 06, 2019 11:39 am
- First Name: Tim
- Last Name: Morsher
- * REQUIRED* Type and Year of Model Ts owned: 1925TT, 1926 Martin-Parry bodied wagon, 1927 mercury bodied speedster
- Location: Norwalk Ohio
Re: E.S. Huff and the Model T Magneto ignition - 1913(a) patent
That’s what 3 wives will do to you, Jerry. By all accounts, he lived life!
-
Jerry VanOoteghem
- Posts: 4503
- Joined: Sun Jan 06, 2019 4:06 pm
- First Name: Jerry
- Last Name: Van
- Location: S.E. Michigan
-
Dropacent
- Posts: 3384
- Joined: Sun Jan 06, 2019 11:39 am
- First Name: Tim
- Last Name: Morsher
- * REQUIRED* Type and Year of Model Ts owned: 1925TT, 1926 Martin-Parry bodied wagon, 1927 mercury bodied speedster
- Location: Norwalk Ohio
Re: E.S. Huff and the Model T Magneto ignition - 1913(a) patent
Great info, hope it keeps coming. It’s very interesting ( and telling) there is just about no Huff info at the Henry Ford Bensen research center. Perhaps they have more there for a in-person visit, but online is just a file re/radio work for Lincoln motors. I’ll let others come to conclusions. Wifey doesn’t think it’s the same person, but she’d argue with a signpost! Here are 3 pics so far, feel free to comment, and thanks for all putting info forward on the inventor responsible for the heart and success of the model T. Keep it coming!
-
J1MGolden
- Posts: 1323
- Joined: Sun Jan 06, 2019 5:39 pm
- First Name: James
- Last Name: Golden
- * REQUIRED* Type and Year of Model Ts owned: 1926 Model T Roadster
- Location: Bowie, MD
Re: E.S. Huff and the Model T Magneto ignition - 1913(a) patent
Here is some old news.
Inventor Waits Too Long In Lawsuit Against Ford
By Associated Press
Washington, October 13. – The Supreme Court today refused to consider whether Henry Ford owes Edward S. Huff $11,000,000 as royalty upon magnetos used upon 4,500,000 automobiles.
Huff claimed he was paid $10,000 by Ford for the invention, but that he was also to receive $2.50 for each magneto used. The lower federal courts held that Huff had neglected to press his claim within the time allowed by law.
From the Galveston Daily News (Galveston, Texas), October 14, 1924
Inventor Waits Too Long In Lawsuit Against Ford
By Associated Press
Washington, October 13. – The Supreme Court today refused to consider whether Henry Ford owes Edward S. Huff $11,000,000 as royalty upon magnetos used upon 4,500,000 automobiles.
Huff claimed he was paid $10,000 by Ford for the invention, but that he was also to receive $2.50 for each magneto used. The lower federal courts held that Huff had neglected to press his claim within the time allowed by law.
From the Galveston Daily News (Galveston, Texas), October 14, 1924
-
J1MGolden
- Posts: 1323
- Joined: Sun Jan 06, 2019 5:39 pm
- First Name: James
- Last Name: Golden
- * REQUIRED* Type and Year of Model Ts owned: 1926 Model T Roadster
- Location: Bowie, MD
Re: E.S. Huff and the Model T Magneto ignition - 1913(a) patent
That was Edward Huff with Henry Ford when they were better friends.
-
Dropacent
- Posts: 3384
- Joined: Sun Jan 06, 2019 11:39 am
- First Name: Tim
- Last Name: Morsher
- * REQUIRED* Type and Year of Model Ts owned: 1925TT, 1926 Martin-Parry bodied wagon, 1927 mercury bodied speedster
- Location: Norwalk Ohio
Re: E.S. Huff and the Model T Magneto ignition - 1913(a) patent
$11,250,000.00. Ouch, that would have left a mark!
-
Been Here Before
Topic author - Posts: 654
- Joined: Mon Oct 07, 2019 2:00 pm
- First Name: George John
- Last Name: Drobnock
- * REQUIRED* Type and Year of Model Ts owned: 1922 Coupe
- Location: Central Pennsylvania
Re: E.S. Huff and the Model T Magneto ignition - 1913(a) patent
With all the above said about the standard ignition for the Model T Ford...the question now is why not this?
-
Dropacent
- Posts: 3384
- Joined: Sun Jan 06, 2019 11:39 am
- First Name: Tim
- Last Name: Morsher
- * REQUIRED* Type and Year of Model Ts owned: 1925TT, 1926 Martin-Parry bodied wagon, 1927 mercury bodied speedster
- Location: Norwalk Ohio
Re: E.S. Huff and the Model T Magneto ignition - 1913(a) patent
They were a bust, is a simplified answer. Their extreme rarity with few survivors, not reliable , way too complicated are all points that tell me me they were not successful. bOSCH buried them in the ashcan of history. Again, JMHO. I’ve had one in my possession years ago.
-
Dropacent
- Posts: 3384
- Joined: Sun Jan 06, 2019 11:39 am
- First Name: Tim
- Last Name: Morsher
- * REQUIRED* Type and Year of Model Ts owned: 1925TT, 1926 Martin-Parry bodied wagon, 1927 mercury bodied speedster
- Location: Norwalk Ohio
Re: E.S. Huff and the Model T Magneto ignition - 1913(a) patent
I’ve often asked myself why henry didn’t just add a bOSCH magneto rather than all the parts needed for an internal magneto? At the time, vehicle lighting wasn’t an issue, but perhaps they were smart enough to look down the road. Lamp companies were already adding lighting capabilities to kerosene lamps very early on.
-
Jerry VanOoteghem
- Posts: 4503
- Joined: Sun Jan 06, 2019 4:06 pm
- First Name: Jerry
- Last Name: Van
- Location: S.E. Michigan
Re: E.S. Huff and the Model T Magneto ignition - 1913(a) patent
Tim,Dropacent wrote: ↑Fri Dec 24, 2021 12:20 pmI’ve often asked myself why henry didn’t just add a bOSCH magneto rather than all the parts needed for an internal magneto? At the time, vehicle lighting wasn’t an issue, but perhaps they were smart enough to look down the road. Lamp companies were already adding lighting capabilities to kerosene lamps very early on. AC58BB35-A033-4C6F-8EDE-D13216C553AF.jpeg789A3439-4423-4B16-8FE6-476B834B39E4.jpeg
My guess would be that Henry didn't want to pay another company for their product. Wanted to keep the profits "in-house", so to speak.
-
Dropacent
- Posts: 3384
- Joined: Sun Jan 06, 2019 11:39 am
- First Name: Tim
- Last Name: Morsher
- * REQUIRED* Type and Year of Model Ts owned: 1925TT, 1926 Martin-Parry bodied wagon, 1927 mercury bodied speedster
- Location: Norwalk Ohio
Re: E.S. Huff and the Model T Magneto ignition - 1913(a) patent
I agree, Jerry. We’ve all seen the pics of the magneto assembly line, and we know of all the parts needed. A magneto sourced outside back then would probably have been in the range of $25. Those were different times, so mind blowing that they could make the inside magneto efficiently and cost effectively. We have all followed posts of people rebuilding theirs nowadays and it takes a LOT of work.
-
Dropacent
- Posts: 3384
- Joined: Sun Jan 06, 2019 11:39 am
- First Name: Tim
- Last Name: Morsher
- * REQUIRED* Type and Year of Model Ts owned: 1925TT, 1926 Martin-Parry bodied wagon, 1927 mercury bodied speedster
- Location: Norwalk Ohio
Re: E.S. Huff and the Model T Magneto ignition - 1913(a) patent
Just another thought , though. The early T parts production was mostly outsourced, but they may have had the long view to manufacture the whole auto at some point. They got close but they ever succeeded.
-
Jerry VanOoteghem
- Posts: 4503
- Joined: Sun Jan 06, 2019 4:06 pm
- First Name: Jerry
- Last Name: Van
- Location: S.E. Michigan
Re: E.S. Huff and the Model T Magneto ignition - 1913(a) patent
Honestly, a bunch of magnets and a coil ring are pretty simple compared to a high tension magneto, which needed a wound armature, gears, points, condenser, housing and precision manufacturing methods. As for the coils, in 1908 those were pretty much standard issue on most cars, at least in the mid-to-low price range, so nothing out of the ordinary there. Good point however on the T's early days being mostly outsourced anyway.
-
Layden Butler
- Posts: 1734
- Joined: Mon Jan 07, 2019 5:39 pm
- First Name: Layden
- Last Name: Butler
- Location: Danville CA
Re: E.S. Huff and the Model T Magneto ignition - 1913(a) patent
This a photo in my collection.
-
Jerry VanOoteghem
- Posts: 4503
- Joined: Sun Jan 06, 2019 4:06 pm
- First Name: Jerry
- Last Name: Van
- Location: S.E. Michigan
Re: E.S. Huff and the Model T Magneto ignition - 1913(a) patent
The thing that has always bugged me about that magneto patent model photo, is what looks like a 1940's vintage v-belt pulley! Also, the mag post appears to be a standard issue, early Model T mag post, which should not have existed when the patent model was made.
-
Been Here Before
Topic author - Posts: 654
- Joined: Mon Oct 07, 2019 2:00 pm
- First Name: George John
- Last Name: Drobnock
- * REQUIRED* Type and Year of Model Ts owned: 1922 Coupe
- Location: Central Pennsylvania
Re: E.S. Huff and the Model T Magneto ignition - 1913(a) patent
Interesting stuff. Any one have a conspiracy theory about the Ford/Huff team incorporating a Tesla/Edison motor/generator design into the Ford/Huff magneto?
-
Scott_Conger
- Posts: 6831
- Joined: Sun Jan 06, 2019 11:18 am
- First Name: Scott
- Last Name: Conger
- * REQUIRED* Type and Year of Model Ts owned: 1919
- Location: not near anywhere, WY
- Board Member Since: 2005
Re: E.S. Huff and the Model T Magneto ignition - 1913(a) patent
seriously?
Scott Conger
Tyranny under the guise of law is still Tyranny
NH Full Flow Float Valves™
Obsolete carburetor parts manufactured
Tyranny under the guise of law is still Tyranny
NH Full Flow Float Valves™
Obsolete carburetor parts manufactured
-
Been Here Before
Topic author - Posts: 654
- Joined: Mon Oct 07, 2019 2:00 pm
- First Name: George John
- Last Name: Drobnock
- * REQUIRED* Type and Year of Model Ts owned: 1922 Coupe
- Location: Central Pennsylvania
Re: E.S. Huff and the Model T Magneto ignition - 1913(a) patent
seriously?
Oh dear! No question is a dumb question? Besides I did use the word Conspiracy.
The early patents of Edison and Tesla were competing in the generation of Electricity.
Oh dear! No question is a dumb question? Besides I did use the word Conspiracy.
The early patents of Edison and Tesla were competing in the generation of Electricity.
-
Dropacent
- Posts: 3384
- Joined: Sun Jan 06, 2019 11:39 am
- First Name: Tim
- Last Name: Morsher
- * REQUIRED* Type and Year of Model Ts owned: 1925TT, 1926 Martin-Parry bodied wagon, 1927 mercury bodied speedster
- Location: Norwalk Ohio
Re: E.S. Huff and the Model T Magneto ignition - 1913(a) patent
Jerry, as for the pulley, I’ve seen a lot of delicate cast iron webbed pulleys like that, and if you blow it up, it has a square lock screw, which is also a good tell. I can’t speak to the mag post. ………… Edison said a good inventor needs a big junk pile.
-
Kaiser
- Posts: 1108
- Joined: Mon Jan 07, 2019 5:32 am
- First Name: Leo
- Last Name: van Stirum
- * REQUIRED* Type and Year of Model Ts owned: 1923 Huckster, '66 CJ5 daily driver
- Location: Netherlands
- Board Member Since: 2016
Re: E.S. Huff and the Model T Magneto ignition - 1913(a) patent
Pulleys like that were used on sewing machines even before the turn of the century, so probably just a off the shelf hardware part...
When in trouble, do not fear, blame the second engineer ! 
Leo van Stirum, Netherlands
'23 Huckster, '66 CJ5 daily driver
Leo van Stirum, Netherlands
'23 Huckster, '66 CJ5 daily driver
-
Been Here Before
Topic author - Posts: 654
- Joined: Mon Oct 07, 2019 2:00 pm
- First Name: George John
- Last Name: Drobnock
- * REQUIRED* Type and Year of Model Ts owned: 1922 Coupe
- Location: Central Pennsylvania
Re: E.S. Huff and the Model T Magneto ignition - 1913(a) patent
Unless mentioned, the belt for turning the pulley was a leather belt as found on some sewing machines and governors of steam engines.
-
Been Here Before
Topic author - Posts: 654
- Joined: Mon Oct 07, 2019 2:00 pm
- First Name: George John
- Last Name: Drobnock
- * REQUIRED* Type and Year of Model Ts owned: 1922 Coupe
- Location: Central Pennsylvania
Re: E.S. Huff and the Model T Magneto ignition - 1913(a) patent
Seriously!!
See posting on Huff's First Magneto by Rob.
Re: E.S. Huff and the Model T Magneto ignition - 1913(a) patent
by Been Here Before » Tue Dec 28, 2021 10:10 am
Interesting stuff. Any one have a conspiracy theory about the Ford/Huff team incorporating a Tesla/Edison motor/generator design into the Ford/Huff magneto?
Found under Tesla patents -
Wiki - ""U.S. Patent 609,250 - Electrical Igniter for Gas Engines - 1898 August 16 - Ignition system principles used today in automobiles; Operation of a machine that requires a spark, flame, or any other similar effect; More certain and satisfactory for use of and control by the machine or apparatus; Charging and discharging a condenser through switch or commutator.""
Wiki- ""U.S. Patent 487,796 - System of Electrical Transmission of Power - 1892 December 13 - Alternating current generator consisting of independent armature-circuits formed by conductors alternately disposed; Currents developed differ in phase and the field magnet poles in excess of the number of armature-circuits; Motor having independent energizing circuits connected to the armature-circuit of the alternating current generator; Rotating magneto-electric machine yielding a given number of current impulses or alterations for each turn or revolution; Poles which in number are less than the number of current impulses produced in each motor-circuit by one turn or revolution; Multipolar alternating-current machine.""
See posting on Huff's First Magneto by Rob.
Re: E.S. Huff and the Model T Magneto ignition - 1913(a) patent
by Been Here Before » Tue Dec 28, 2021 10:10 am
Interesting stuff. Any one have a conspiracy theory about the Ford/Huff team incorporating a Tesla/Edison motor/generator design into the Ford/Huff magneto?
Found under Tesla patents -
Wiki - ""U.S. Patent 609,250 - Electrical Igniter for Gas Engines - 1898 August 16 - Ignition system principles used today in automobiles; Operation of a machine that requires a spark, flame, or any other similar effect; More certain and satisfactory for use of and control by the machine or apparatus; Charging and discharging a condenser through switch or commutator.""
Wiki- ""U.S. Patent 487,796 - System of Electrical Transmission of Power - 1892 December 13 - Alternating current generator consisting of independent armature-circuits formed by conductors alternately disposed; Currents developed differ in phase and the field magnet poles in excess of the number of armature-circuits; Motor having independent energizing circuits connected to the armature-circuit of the alternating current generator; Rotating magneto-electric machine yielding a given number of current impulses or alterations for each turn or revolution; Poles which in number are less than the number of current impulses produced in each motor-circuit by one turn or revolution; Multipolar alternating-current machine.""
-
Been Here Before
Topic author - Posts: 654
- Joined: Mon Oct 07, 2019 2:00 pm
- First Name: George John
- Last Name: Drobnock
- * REQUIRED* Type and Year of Model Ts owned: 1922 Coupe
- Location: Central Pennsylvania
Re: E.S. Huff and the Model T Magneto ignition - 1913(a) patent
So where did Huff come up with his "invention?" What Huff gave to Henry Ford was a small version of a device that when rotated produced electricity in sufficient quantity to produce electricity to activate induction coils, controlled by a mechanical timer.
Edison and Tesla were not the only individuals interested in electricity and its uses. Edison and Tesla are not the only ones that may have influenced Huff and his design.
Huff produced his generator and patented it 1913/1914. There is a publication on line, called ELECTRICITY IN THE SERVICE OF MAN, dated 1886. the book discusses the production of electricity. Showing examples of "Magnetos", and a discussion of the work of the French engineer Auguste de Méritens (1834–1898). Attached is a wood cutting de Meritens machine. It would appear that Huff had may examples and others to copy from so that "Henry Ford could invent the Model T."
From Wiki - ""Most early dynamos were bipolar and so their output varied cyclically as the armature rotated past the two poles.
To achieve an adequate output power, magneto generators used many more poles; usually sixteen, from eight horseshoe magnets arranged in a ring. As the flux available was limited by the magnet metallurgy, the only option was to increase the field by using more magnets. As this was still an inadequate power, extra rotor disks were stacked axially, along the axle. This had the advantage that each rotor disk could at least share the flux of two expensive magnets. The machine illustrated here uses eight disks and nine rows of magnets: 72 magnets in all (see the article).
The rotors first used were wound as sixteen axial bobbins, one per pole. Compared to the bipolar dynamo, this did have the advantage of more poles giving a smoother output per rotation, which was an advantage when driving arc lamps. Magnetos thus established a small niche for themselves as lighting generators.
The Belgian electrical engineer Floris Nollet (1794–1853) became particularly known for this type of arc lighting generator and founded the British-French company Société de l'Alliance to manufacture them.
The French engineer Auguste de Méritens (1834–1898) developed magnetos further for this purpose. His innovation was to replace the rotor coils previously wound on individual bobbins, with a 'ring wound' armature. These windings were placed on a segmented iron core, similar to a Gramme ring, so as to form a single continuous hoop. This gave a more even output current, which was still more advantageous for arc lamps.""
Edison and Tesla were not the only individuals interested in electricity and its uses. Edison and Tesla are not the only ones that may have influenced Huff and his design.
Huff produced his generator and patented it 1913/1914. There is a publication on line, called ELECTRICITY IN THE SERVICE OF MAN, dated 1886. the book discusses the production of electricity. Showing examples of "Magnetos", and a discussion of the work of the French engineer Auguste de Méritens (1834–1898). Attached is a wood cutting de Meritens machine. It would appear that Huff had may examples and others to copy from so that "Henry Ford could invent the Model T."
From Wiki - ""Most early dynamos were bipolar and so their output varied cyclically as the armature rotated past the two poles.
To achieve an adequate output power, magneto generators used many more poles; usually sixteen, from eight horseshoe magnets arranged in a ring. As the flux available was limited by the magnet metallurgy, the only option was to increase the field by using more magnets. As this was still an inadequate power, extra rotor disks were stacked axially, along the axle. This had the advantage that each rotor disk could at least share the flux of two expensive magnets. The machine illustrated here uses eight disks and nine rows of magnets: 72 magnets in all (see the article).
The rotors first used were wound as sixteen axial bobbins, one per pole. Compared to the bipolar dynamo, this did have the advantage of more poles giving a smoother output per rotation, which was an advantage when driving arc lamps. Magnetos thus established a small niche for themselves as lighting generators.
The Belgian electrical engineer Floris Nollet (1794–1853) became particularly known for this type of arc lighting generator and founded the British-French company Société de l'Alliance to manufacture them.
The French engineer Auguste de Méritens (1834–1898) developed magnetos further for this purpose. His innovation was to replace the rotor coils previously wound on individual bobbins, with a 'ring wound' armature. These windings were placed on a segmented iron core, similar to a Gramme ring, so as to form a single continuous hoop. This gave a more even output current, which was still more advantageous for arc lamps.""
-
henryford2
- Posts: 831
- Joined: Sun Jan 06, 2019 4:14 pm
- First Name: Joseph
- Last Name: Andulics
- * REQUIRED* Type and Year of Model Ts owned: 1926 Fordor, 1926 Truck, 1927 Roadster GOW, RAJO Sprint car
- Location: North Ridgeville, OH
- Contact:
Re: E.S. Huff and the Model T Magneto ignition - 1913(a) patent
“I invented nothing new. I simply assembled the discoveries of other men behind whom were centuries of work. Had I worked fifty or ten or even five years before, I would have failed. So it is with every new thing. Progress happens when all the factors that make for it are ready, and then it is inevitable. To teach that a comparatively few men are responsible for the greatest forward steps of mankind is the worst sort of nonsense.” HENRY FORD
-
Chris Barker
- Posts: 345
- Joined: Sun Jan 06, 2019 5:08 pm
- First Name: Chris
- Last Name: Barker
- * REQUIRED* Type and Year of Model Ts owned: 1926 Coupe
- Location: Somerset, Eng;and
Re: E.S. Huff and the Model T Magneto ignition - 1913(a) patent
The mystery for me is why the system was not dropped in 1919 when the 6v starter and generator were added. A single coil and distributor would have saved $$$$$$$$$$$$$$$$$$$$ (and a lot of fun for us now.)
-
TXGOAT2
- Posts: 8700
- Joined: Sun Feb 14, 2021 10:08 pm
- First Name: Pat
- Last Name: McNallen
- * REQUIRED* Type and Year of Model Ts owned: 1926-7 roadster
- Location: Graham, Texas
- Board Member Since: 2021
Re: E.S. Huff and the Model T Magneto ignition - 1913(a) patent
Ford was invested in tooling, supplies, etc to build the buzz coil system in great volume. Ford was still selling simplicity, reliability, and low first cost. The Ford buzz coil system was familiar to millions around the world, and it offered several ways to start the car in the event of battery/starter failure. It did not depend on a single coil or condenser of set of moving contacts to keep the car operable. It did not require a battery, starter, or generator. It's possible, too, that other interests owned rights to manufacture the single coil system, and Ford did not like to pay royalties. The Ford manufacturing and dealer/service system was vast and far-flung, there were huge stocks of parts in dealer hands, and it all had a lot of momentum. A change to a single coil system would have required basic changes in the engine structure to accomdate the new design efficiently. Most engines, then and now, use the oil pump drive to drive the distributor. The Ford engine had no oil pump drive to share with the ignition system.
-
Dropacent
- Posts: 3384
- Joined: Sun Jan 06, 2019 11:39 am
- First Name: Tim
- Last Name: Morsher
- * REQUIRED* Type and Year of Model Ts owned: 1925TT, 1926 Martin-Parry bodied wagon, 1927 mercury bodied speedster
- Location: Norwalk Ohio
Re: E.S. Huff and the Model T Magneto ignition - 1913(a) patent
There is an exhaustive amount of alternative ignition sources that were availability back then, even to pre T days. I’ve seen several period ads for outside magnetos during the Model N,R, S era. If an owner didn’t like the “simplicity” of the original ignition, they had plenty of choices. I wonder, the same as Chris. Sometime, just for snicks, count the number of individual pieces needed for the original Huff system. And, don’t forget the 4 coils, switches and coil box. It’s staggering ! Edsel finally got it done in late 1927