Robert m Roof 16 valve head
Forum rules
If you need help logging in, or have question about how something works, use the Support forum located here Support Forum
Complete set of Forum Rules Forum Rules
If you need help logging in, or have question about how something works, use the Support forum located here Support Forum
Complete set of Forum Rules Forum Rules
-
Shelbycsx
Topic author - Posts: 37
- Joined: Tue Oct 27, 2020 3:12 pm
- First Name: Richard
- Last Name: Clayton
- Location: Hammonton nj
Robert m Roof 16 valve head
Does anyone know what year this model head was first starting to be produced? How many did they make?
-
StanHowe
- Posts: 979
- Joined: Mon Jan 07, 2019 5:42 pm
- First Name: Stan
- Last Name: Howe
- * REQUIRED* Type and Year of Model Ts owned: 2
- Location: Helena, MT
- Board Member Since: 1999
Re: Robert m Roof 16 valve head
John Steele has several of those 16 valve heads and reproduced the racing manifolds for them several years ago.
If you want his contact information email me at stanhowemt@aol.com and I will hook you up.
Also, you should sell me that Carburetor!!!!
If you want his contact information email me at stanhowemt@aol.com and I will hook you up.
Also, you should sell me that Carburetor!!!!
-
aDave
- Posts: 354
- Joined: Fri Jan 04, 2019 10:21 am
- First Name: David
- Last Name: Dufault
- * REQUIRED* Type and Year of Model Ts owned: 1915
- Location: Concord New Hampshire
- MTFCA Life Member: YES
Re: Robert m Roof 16 valve head
Stan, you keep saying how many you have now...and how much work is ahead of you.....you'll have to live longer than Methuselah to finish all your projects! That pretty violinist of yours will not have time to do the carbs and play also!
I know....long winters up there....but still....
Be well.
Too much carb work, and there won't be time for another book.
Cheers,
Dave
I know....long winters up there....but still....
Be well.
Too much carb work, and there won't be time for another book.
Cheers,
Dave
-
StanHowe
- Posts: 979
- Joined: Mon Jan 07, 2019 5:42 pm
- First Name: Stan
- Last Name: Howe
- * REQUIRED* Type and Year of Model Ts owned: 2
- Location: Helena, MT
- Board Member Since: 1999
Re: Robert m Roof 16 valve head
John is off hunting so I'll just tell you what little I know about it. That is an A head, the first of the Roof 16 valve heads. The intake manifold bolts to the side of the block, the exhaust to the side of the head.
It was replaced by the B, then the BB, then the C. The C is worth several times what the A or B is because it flows much better as the intake is also on the head.
Total of my knowledge right there.
It was replaced by the B, then the BB, then the C. The C is worth several times what the A or B is because it flows much better as the intake is also on the head.
Total of my knowledge right there.
-
David Mazza
- Posts: 230
- Joined: Sun Jan 06, 2019 3:04 pm
- First Name: David
- Last Name: Mazza
- * REQUIRED* Type and Year of Model Ts owned: 1925 t runabout
- Location: North Adams ma
-
Kevin Pharis
- Posts: 1656
- Joined: Thu Jan 10, 2019 3:54 pm
- First Name: Kevin
- Last Name: Pharis
- Location: Sacramento CA
- Contact:
Re: Robert m Roof 16 valve head
This article states that Laurel began marketing the 16 valve heads in ‘17-‘18. It’s not specific enough to discuss when the various models were released tho...
http://www.coachbuilt.com/bui/l/laurel/laurel.htm
http://www.coachbuilt.com/bui/l/laurel/laurel.htm
-
StanHowe
- Posts: 979
- Joined: Mon Jan 07, 2019 5:42 pm
- First Name: Stan
- Last Name: Howe
- * REQUIRED* Type and Year of Model Ts owned: 2
- Location: Helena, MT
- Board Member Since: 1999
Re: Robert m Roof 16 valve head
David, I am not buying carbs much anymore. I bought a Master the other day because it had the correct original manifold for it. Hope to have it sold and paid for before Christmas, I am trying to round up money for a set of Sure Stop brakes for my coupe.
I'm gaining on the pile, cranking them out day by day. Been in the shop since about 10 this morning, headed back out in a few minutes.
Savanna is a Jr at Stanford. Not much time for fiddle playing but is playing in a couple Jam Session groups, one Bluegrass/Old Time and a Western Swing one.
I'm gaining on the pile, cranking them out day by day. Been in the shop since about 10 this morning, headed back out in a few minutes.
Savanna is a Jr at Stanford. Not much time for fiddle playing but is playing in a couple Jam Session groups, one Bluegrass/Old Time and a Western Swing one.
-
StanHowe
- Posts: 979
- Joined: Mon Jan 07, 2019 5:42 pm
- First Name: Stan
- Last Name: Howe
- * REQUIRED* Type and Year of Model Ts owned: 2
- Location: Helena, MT
- Board Member Since: 1999
Re: Robert m Roof 16 valve head
THAT IS JUST COOL!!!!! I HAD FORGOTTEN THAT MIKE ROBISON IN SPOKANE HAD A 16 VALVE (if I ever knew)
-
Shelbycsx
Topic author - Posts: 37
- Joined: Tue Oct 27, 2020 3:12 pm
- First Name: Richard
- Last Name: Clayton
- Location: Hammonton nj
Re: Robert m Roof 16 valve head
Is the master carb rare? What year did they make this model?
-
StanHowe
- Posts: 979
- Joined: Mon Jan 07, 2019 5:42 pm
- First Name: Stan
- Last Name: Howe
- * REQUIRED* Type and Year of Model Ts owned: 2
- Location: Helena, MT
- Board Member Since: 1999
Re: Robert m Roof 16 valve head
Probably somewhere between "Rare" and "Not too common." I just bought a couple of them yesterday, have probably 4 or 5 of them on the shelf. They came in various sizes and were popular with the racing crowd. They are better for racers than for everyday driving. They came out in the late teens and were built up though the late twenties. The smaller Masters seem to be rarer and worth more than the larger ones.
There are several others that are much rarer than Master. Some are just made of unobtainium.
There are several others that are much rarer than Master. Some are just made of unobtainium.
-
Shelbycsx
Topic author - Posts: 37
- Joined: Tue Oct 27, 2020 3:12 pm
- First Name: Richard
- Last Name: Clayton
- Location: Hammonton nj
Re: Robert m Roof 16 valve head
The B head came out in 1918. I found a number 270 stamped above the water outlet could this be the serial number, anyone else have a number there.
-
Tom_Carnegie
- Posts: 74
- Joined: Mon Jan 07, 2019 6:17 pm
- First Name: Tom
- Last Name: Carnegie
- * REQUIRED* Type and Year of Model Ts owned: Many
- Location: Spokane Valley, WA
Re: Robert m Roof 16 valve head
Stan, Mike Robison does have a 16 valve Roof, but this video https://www.youtube.com/watch?v=Ld3D-nEnSlY&t=7s is not of his. That is a Roof that I put together for Gil at the Miracle of America museum in Polson, MT. It came to me as a bucket of parts with stuff missing. I don't remember exactly what I did, but I had to make a bunch of stuff for it. The trick to making a Model A Roof run good is PC seals on the push rods.
-
got10carz
- Posts: 603
- Joined: Sun Jan 06, 2019 6:37 pm
- First Name: Steve
- Last Name: Meixner
- * REQUIRED* Type and Year of Model Ts owned: 1911,13,14,19,23,25,26,27
- Location: Moorhead MN
Re: Robert m Roof 16 valve head
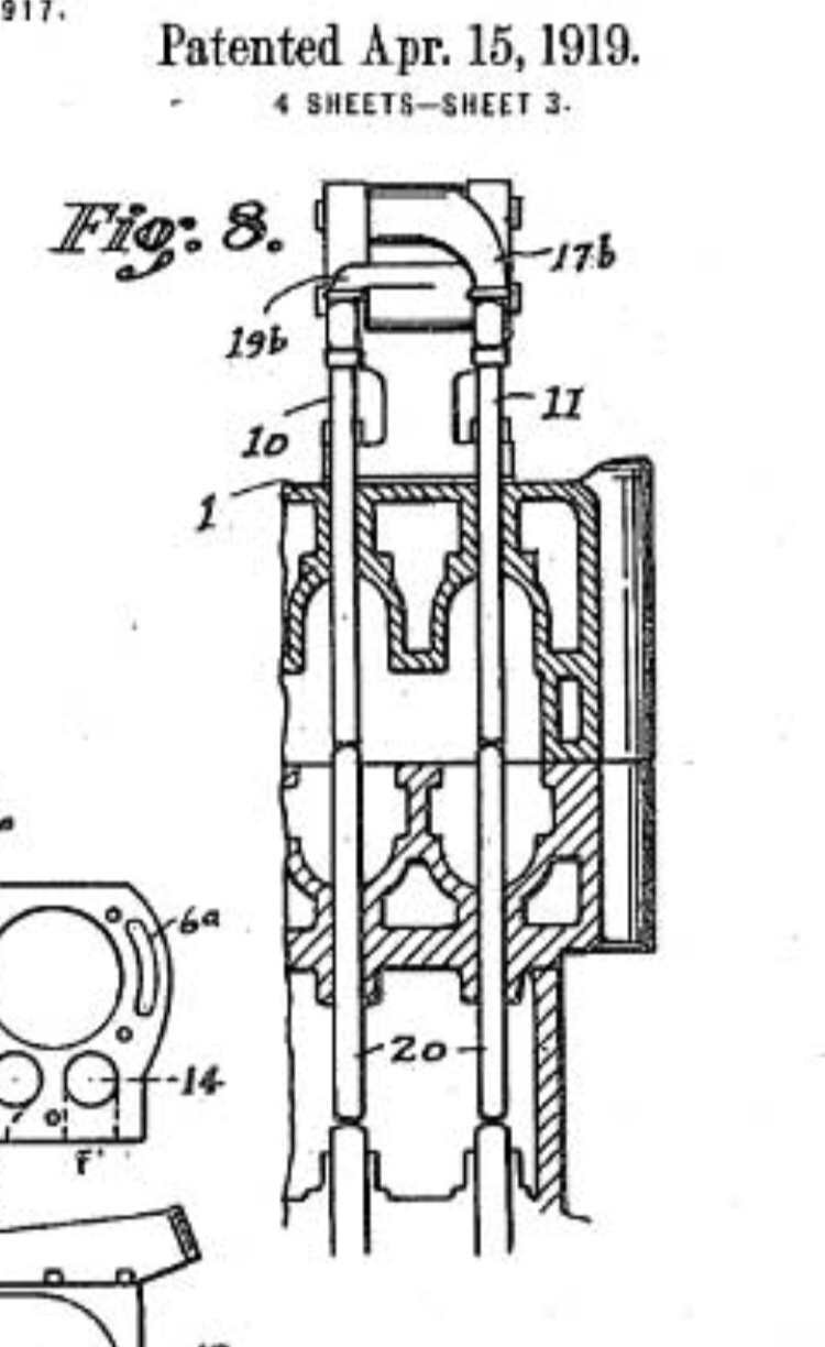
Here are some pictures of my 16 valve. It is a Model BB with 1 1/2" valves in a square pattern. This motor had Laurel pistons, Laurel aluminum rods, Luarel camshaft and radiator when I found it. These are the better rocker arms, than earlier versions. If I remember correctly the Model A head pictured above had push rods that went through the intake ports, creating a possibility of vacuum leaks, and bad idle.
-
Shelbycsx
Topic author - Posts: 37
- Joined: Tue Oct 27, 2020 3:12 pm
- First Name: Richard
- Last Name: Clayton
- Location: Hammonton nj
Re: Robert m Roof 16 valve head
I heard about the leaks through the pushrods. The guides on top of my head look different from others I've seen. 4124 sounds about right for the BB head serial number. I'd be curious to what other A head serial numbers are. They said rajo made over 4,000 heads.
-
got10carz
- Posts: 603
- Joined: Sun Jan 06, 2019 6:37 pm
- First Name: Steve
- Last Name: Meixner
- * REQUIRED* Type and Year of Model Ts owned: 1911,13,14,19,23,25,26,27
- Location: Moorhead MN
Re: Robert m Roof 16 valve head
Just for a discussion, do you suppose mine was the fourth model, remember that there is an 8 valve, 124th head of this model. The 4000 RAJO # seems small. They are everywhere. Perhaps Mark Chaffin, or James Roof will chime in.
-
Shelbycsx
Topic author - Posts: 37
- Joined: Tue Oct 27, 2020 3:12 pm
- First Name: Richard
- Last Name: Clayton
- Location: Hammonton nj
Re: Robert m Roof 16 valve head
Roof made a 16valve C head yours will be third model
-
Kevin Pharis
- Posts: 1656
- Joined: Thu Jan 10, 2019 3:54 pm
- First Name: Kevin
- Last Name: Pharis
- Location: Sacramento CA
- Contact:
Re: Robert m Roof 16 valve head
I stumbled across these a while back... it’s no surprise the push rods can become a major vacuum leak
-
StanHowe
- Posts: 979
- Joined: Mon Jan 07, 2019 5:42 pm
- First Name: Stan
- Last Name: Howe
- * REQUIRED* Type and Year of Model Ts owned: 2
- Location: Helena, MT
- Board Member Since: 1999
Re: Robert m Roof 16 valve head
Interesting!! I've never seen but one or two Roof heads.
Also interesting is the carb on the one Steve Meixner posted. That is either a U5 or U6 Zenith. Great carbs with a brass venturi. Hard to find that aren't all beat up and missing stuff. I am working on one for an overhead setup for some body in California. Interesting that one is on an original.
Zoom Zoom!!
Also interesting is the carb on the one Steve Meixner posted. That is either a U5 or U6 Zenith. Great carbs with a brass venturi. Hard to find that aren't all beat up and missing stuff. I am working on one for an overhead setup for some body in California. Interesting that one is on an original.
Zoom Zoom!!